Product Summary
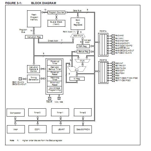
The PIC16F628A-I/P is a 8-Bit CMOS Microcontroller with nanoWatt Technology. It has enhanced core features, an eight-level deep stack, and multiple internal and external interrupt sources.
Parametrics
Absolute maximum ratings: (1)Ambient temperature under bias:-40℃ to +125℃; (2)Storage temperature:-65℃ to +150℃; (3)Voltage on VDD with respect to VSS:-0.3 to +6.5V; (4)Voltage on MCLR and RA4 with respect to VSS:-0.3 to +14V; (5)Voltage on all other pins with respect to VSS:-0.3V to VDD+0.3V; (6)Total power dissipation:800 mW; (7)Maximum current out of VSS pin:300 mA; (8)Maximum current into VDD pin:250 mA; (9)Input clamp current, IIK (VI < 0 or VI > VDD):± 20 mA; (10)Output clamp current, IOK (Vo < 0 or Vo >VDD):± 20 mA; (11)Maximum output current sunk by any I/O pin:25 mA; (12)Maximum output current sourced by any I/O pin:25 mA; (13)Maximum current sunk by PORTA and PORTB (Combined):200 mA; (14)Maximum current sourced by PORTA and PORTB (Combined):200 mA.
Features
Features: (1)Operating speeds from DC – 20 MHz; (2)Interrupt capability; (3)8-level deep hardware stack; (4)Direct, Indirect and Relative Addressing modes; (5)Power-saving Sleep mode; (6)Programmable weak pull-ups on PORTB; (7)Multiplexed Master Clear/Input-pin; (8)Watchdog Timer with independent oscillator for reliable operation; (9)Low-voltage programming; (10)In-Circuit Serial Programming (via two pins); (11)Programmable code protection; (12)Brown-out Reset; (13)Power-on Reset; (14)Power-up Timer and Oscillator Start-up Timer ; (15)Wide operating voltage range (2.0-5.5V); (16)Industrial and extended temperature range;(16)16 I/O pins with individual direction control;(17)High current sink/source for direct LED drive.
Diagrams

| Image | Part No | Mfg | Description | ![]() |
Pricing (USD) |
Quantity | ||||||||||||
|---|---|---|---|---|---|---|---|---|---|---|---|---|---|---|---|---|---|---|
![]() |
![]() PIC16F628A-I/P |
![]() Microchip Technology |
![]() 8-bit Microcontrollers (MCU) 3.5KB 224 RAM 16 I/O |
![]() Data Sheet |
![]()
|
|
||||||||||||
![]() |
![]() PIC16F628A-I/PC06 |
![]() Other |
![]() |
![]() Data Sheet |
![]() Negotiable |
|
||||||||||||
(China (Mainland))










